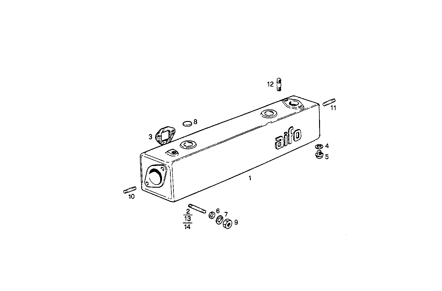
| 1 | 
                        
                            8111086
                         | 
                        
                            COOLED EXHAUST MANIF.
                         | 
                        
                            
                         | 
                        
                            1
                         | 
                        
                            
                         | 
                    
                                                        
                        | 2 | 
                        
                            16730434
                         | 
                        
                            STUD
                         | 
                        
                            
                         | 
                        
                            2
                         | 
                        
                            
                         | 
                    
                                                        
                        | 3 | 
                        
                            98489690
                             | 
                        
                            EXH. MANIFOLD GKT
                         | 
                        
                            
                         | 
                        
                            4
                         | 
                        
                            
    
                         | 
                    
                                                        
                        | 4 | 
                        
                            4858606
                             | 
                        
                            GASKET
                         | 
                        
                            
                         | 
                        
                            1
                         | 
                        
                            
    
                         | 
                    
                                                        
                        | 5 | 
                        
                            11903140
                             | 
                        
                            PLUG
                         | 
                        
                            
                         | 
                        
                            1
                         | 
                        
                            
    
                         | 
                    
                                                        
                        | 6 | 
                        
                            17793804
                         | 
                        
                            WASHER
                         | 
                        
                            
                         | 
                        
                            4
                         | 
                        
                            
                         | 
                    
                    
                 | 
                17793814 | 
                WASHER | 
                 | 
                4 | 
                
    
 | 
            
                                                
                        | 7 | 
                        
                            17094914
                             | 
                        
                            WASHER
                         | 
                        
                            
                         | 
                        
                            4
                         | 
                        
                            
    
                         | 
                    
                                                        
                        | 8 | 
                        
                            16991170
                             | 
                        
                            LOCK PLUG
                         | 
                        
                            
                         | 
                        
                            3
                         | 
                        
                            
    
                         | 
                    
                                                        
                        | 9 | 
                        
                            17037931
                         | 
                        
                            HEXAGON NUT
                         | 
                        
                            
                         | 
                        
                            8
                         | 
                        
                            
                         | 
                    
                                                        
                        | 10 | 
                        
                            13516821
                         | 
                        
                            STUD
                         | 
                        
                            
                         | 
                        
                            2
                         | 
                        
                            
                         | 
                    
                    
                 | 
                16729324 | 
                STUD | 
                 | 
                2 | 
                
    
 | 
            
                                                
                        | 11 | 
                        
                            13453821
                             | 
                        
                            STUD
                         | 
                        
                            
                         | 
                        
                            4
                         | 
                        
                            
    
                         | 
                    
                                                        
                        | 12 | 
                        
                            16729424
                             | 
                        
                            STUD
                         | 
                        
                            
                         | 
                        
                            2
                         | 
                        
                            
    
                         | 
                    
                                                        
                        | 13 | 
                        
                            13517330
                             | 
                        
                            STUD
                         | 
                        
                            
                         | 
                        
                            4
                         | 
                        
                            
    
                         | 
                    
                                                        
                        | 14 | 
                        
                            13952230
                         | 
                        
                            STUD
                         | 
                        
                            
                         | 
                        
                            2
                         | 
                        
                            
                         |