My Cart0
Create an Account Sign In

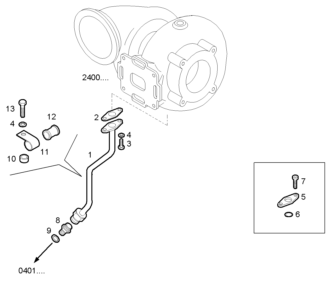
RETURN OIL LINE

Assembly ID: 3065.001

RETURN OIL LINE

Parts

# Part number Description Note Quantity
1 8042426 OIL LINE 1
2 98412509 FLAT ENGINE GASKET 1
3 16605624 HEXAGON BOLT 2
4 17089474 SPRING WASHER 3
5 8040800 RETAINER 1
6 17282681 O-RING 1
7 16690624 CYLIND-HEAD SCREW 2
8 16581411 SWIVEL COUPLING 1
9 16566060 WASHER 1
10 17816614 SPACING BAR 1
11 8033225 CLIP 1
12 4747140 RUBBER PAD 1
13 16606034 HEXAGON BOLT 1

Applies to engines

Engine Family
C13ENTM50.10 CURSOR 13 view
C13ENSM33.10 CURSOR 13 view
C13ENAM19.00 CURSOR 13 view
C13ENSM33.30 CURSOR 13 view
C13ENTM50.30 CURSOR 13 view