My Cart0
Create an Account Sign In

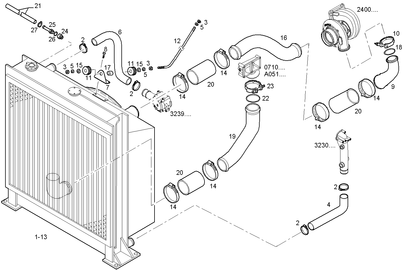
RADIATOR 2 CIRCUITS AIR/WATER

Assembly ID: A22480502

RADIATOR 2 CIRCUITS AIR/WATER

Parts

# Part number Description Note Quantity
1 8045778 WATER RADIATOR 1
2 17765091 CLIP 4
3 17038425 HEXAGON NUT 4
4 8040979 RUBBER SLEEVE 1
5 17091074 WASHER 4
6 8040980 RUBBER SLEEVE 1
7 8019397 RETAINER 1
8 16605624 HEXAGON BOLT 2
9 504039838 AIR PIPE/DUCT 1
10 500307975 CLIP 1
11 741569 RUBBER LUG 2
12 8041271 TIE ROD 1
13 8039384 WATER RADIATOR 1
14 17765391 CLIP 6
15 741570 WASHER 2
16 8040977 AIR PIPE/DUCT 1
17 741571 SPACING BAR 1
18 17290781 O-RING 1
19 8040935 AIR PIPE/DUCT 1
20 8030531 TURBOCHARGER HOSE 3
21 19056687 RUBBER HOSE 1
22 17291281 O-RING 1
23 99435103 CLIP 1
24 8100963 PIPE SOCKET 1
25 4935134 OIL LINE 1
26 4858606 GASKET 1
27 18087991 CLIP 2

Applies to engines

Engine Family
C13ENTE60.00 CURSOR 13 - TIER 2 view
GECURSOR400E.R990 GECURSOR 13 - TIER 2 view
CURSOR13TE3.A003 CURSOR 13 - TIER 2 view
CURSOR13TE3.A001 CURSOR 13 - TIER 2 view
CURSOR13TE3.A002 CURSOR 13 - TIER 2 view
CURSOR13TE3.A559 CURSOR 13 - TIER 2 view
GECURSOR400E.A551 GECURSOR 13 - TIER 2 view
GECURSOR400E.A71M GECURSOR 13 - TIER 2 view
CURSOR13TE3X.R991 CURSOR 13 - TIER 3 view