My Cart0
Create an Account Sign In

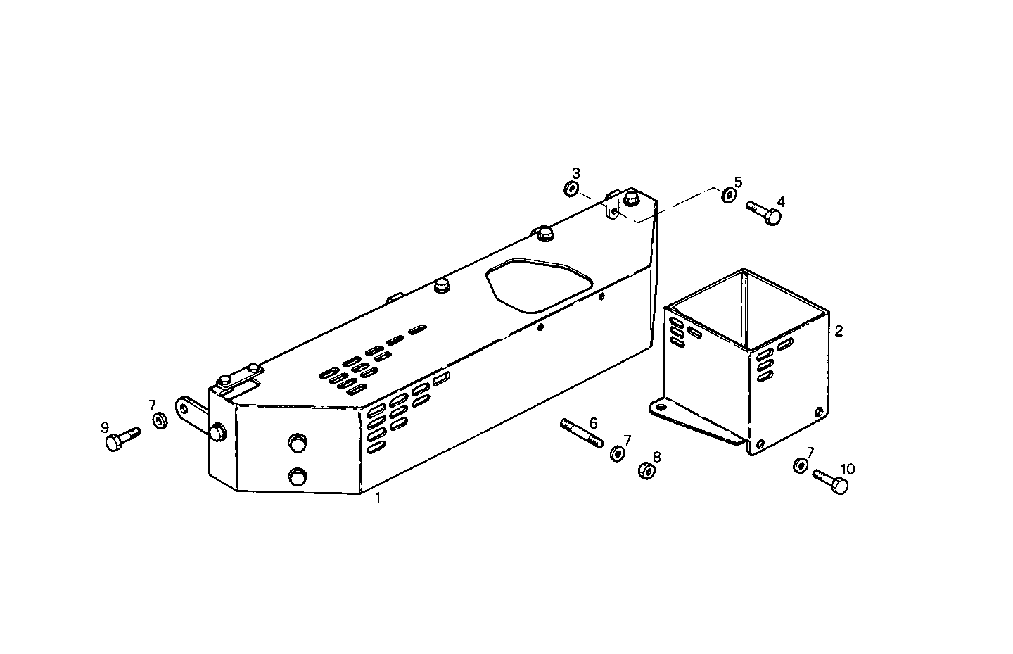
GUARD

Assembly ID: A48040009

GUARD

Parts

# Part number Description Note Quantity
1 8020119 PROTECTION 1
2 8020120 PROTECTION 1
3 16665604 WASHER 4
4 15970521 HEXAGON BOLT 1
5 17090174 SPRING WASHER 1
6 16746524 STUD 3
7 17089474 SPRING WASHER 5
8 17037931 HEXAGON NUT 3
9 16605524 HEXAGON BOLT 1
10 16605424 SCREW 2

Applies to engines

Engine Family
8061C05.05 8061C05 view
GE8061i25.05A905 GE8061i25 view
8061i05.05 8061i05 view
8061i25.05 8061i25 view