My Cart0
Create an Account Sign In

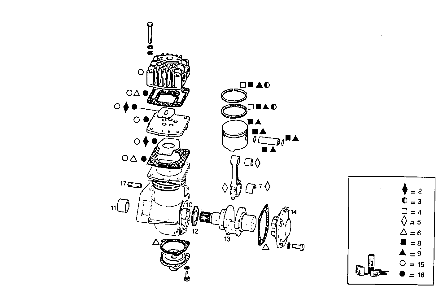
AIR COMPRESSOR

Assembly ID: T1803001

AIR COMPRESSOR

Parts

# Part number Description Note Quantity
2 79072947 KIT-AIR COMPRESSOR 1
3 79072948 KIT-AIR COMPRESSOR 1
4 79072949 KIT-AIR COMPRESSOR 1
5 79069742 KIT-AIR COMPRESSOR 1
6 79073017 KIT-AIR COMPRESSOR 1
7 9918517 HALF-BEARING 2
8 9980033 KIT-AIR COMPRESSOR 1
9 9980040 KIT-AIR COMPRESSOR 1
10 79033708 BUSH 1
11 79033709 BUSH 1
12 79022437 RING 1
13 79033710 COMPR.CRANKSHAFT 1
14 79033714 COVER 1
15 79035552 KIT-AIR COMPRESSOR 1
16 79035554 KIT-AIR COMPRESSOR 1
17 9923023 STUD 4

Applies to engines

Engine Family
8361Si11.05 8361Si11 view
8361SRi11.05 8361SRi11 view
8361SRi10.01 8361SRi10 view
8361SRE10.00 8361SRE10 view
8361Si10.00 8361Si10 view
8361Si10.00A029 8361Si10 view